Geçtiğimiz yıl İngiltere’de drone ile teslimat yapmaya başlayan Amazon, belki internet girişimi olduğu pek çoğumuzu şaşırtmadı. Hatta uzun süredir Amazon’un bu sistemi başlatması bekleniyordu. Ancak artık internet girişimlerinin dışındaki dev şirketler de bu teknolojiye adapte olmak için gerekli adımları atıyorlar. Yine geçtiğimiz yıl drone ile ilk teslimat denemesini Yeni Zelanda’da yapan Domino’s Pizza da heyecan yarattı. Bir başka büyük adım ise drone ile teslimat için patent başvurusu yapan ABD’li süpermarket devi Walmart’tan geldi. Perakende devi, drone’ların uçan bir depodan konutlara teslimat yapabilmesini sağlayacak sistem için Amerika Birleşik Devletleri Patent ve Ticari Marka Ofisi’ne patent başvurusunda bulundu.
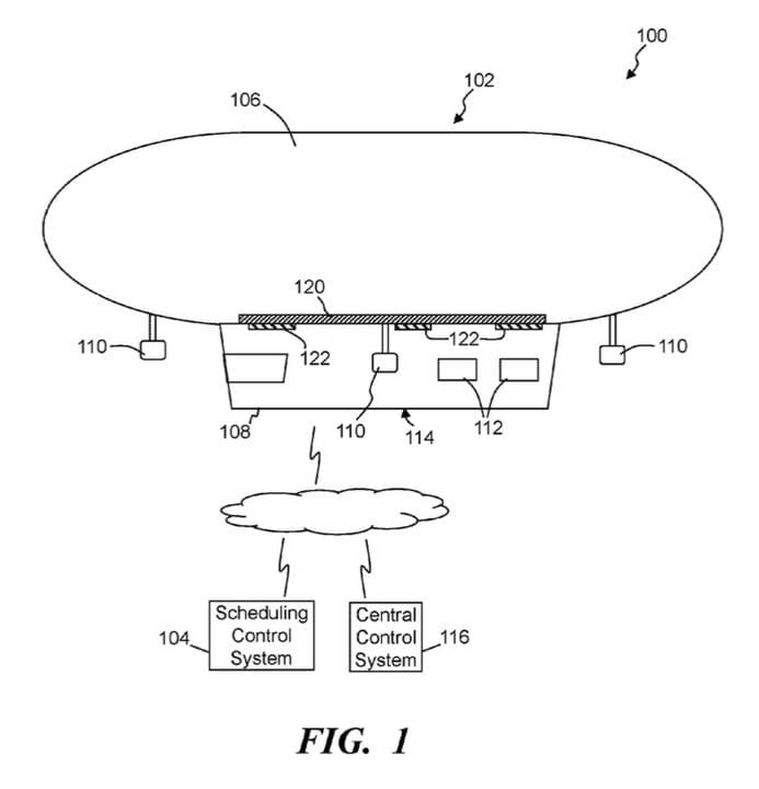
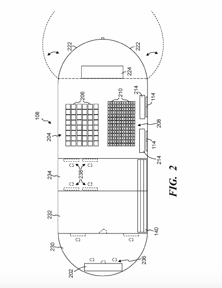
Walmart’ın hazırladığı sisteme göre; zeplin benzeri bir hava aracı olan olan uçan depo, Walmart’ın fiziksel mağazalarından ürün ve drone yüklemesi yapacak. Havada uygun bir konumda park edecek olan uçan depodan drone’lar aracılığıyla aynı anda çok sayıda müşteri adresine teslimat yapılacak. Tüm bunlar yerden 150 lle 300 metre yükseklikte gerçekleşecek. Uçan depo tümüyle boşaldığında ise yeni ürün yüklemesi için inişe geçecek ve bu yeni ürün yükleme sürecinde de drone’lar şarj olacak. Müşteri deneyimini iyileştirmek konusunda sürekli çaba sarf eden Walmart, drone ile teslimat konusundaki girişimlerinde yeni teknolojiye uyum ve satışları artırma hedeflerinin altını çiziyor.
Walmart’ın sistemi Amazon’un sistemiyle büyük benzerlik taşıdığı için eleştirilere maruz kalıyor. Açıkçası iki devin sistemleri arasındaki tek fark, uçan depoların bulunacağı yükseklik. Amazon’un deposu yaklaşık 13.700 metre yükseklikte bulutların üzerinde park ediyor. Walmart ise pil gücü faktörünü dikkate alarak 150 – 300 metrelik yüksekliği tercih etmiş ve bu konuda daha akıllıca davranmış gibi görünüyor.
Patent dökümanlarında yer alan illüstrasyonlardan örnekler:


Görsel: Digital Trends, USPTO







